9 Craziest Phone Patents Ever
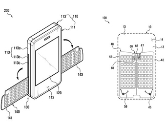
#6 ‘Winged’ Smartphone
Filed: December 24, 2008
Company: Samsung
We had seen phones with QWERTY keypad and even touch screens with life sized keys in panoramic mode. But this patent from Samsung is something different. It essentially has a complete keyboard, which emerges from the backside of the phone. The dual-keyboard design used springs to flick out of the sides of the device, switchblade style. It may resemble the wings of a butterfly, but can essentially send the business mails, way faster than your 5-inch touchscreen phone!
#5 Amazon Crash
Filed: February 11, 2010
Company: Amazon
An Amazon branded Smartphone is not yet confirmed, but if it’s launched, it may have many features, unimaginable by the rivals. Consider this patent application from the world’s largest online retailer: It has methods to protect your expensive Smartphone if it’s accidently dropped. The Smartphone-protection scheme’s sensors would detect when the device drops and will deploy a safety mechanism to protect itself from crashing. Mechanisms can be an airbag, springs, or jet-pack style thrusters.
