9 Craziest Phone Patents Ever
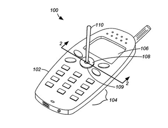
#8 JoyStylus
Filed: December 31, 2002
Company: Nokia
Introduction of touch screens had completely changed the concept of mobile gaming. Devices like iPhone and iPod Touch fuelled this change. But long before all these, the major phone makers were trying to figure out ways to make cell-phone gaming more entertaining. See this patent from Nokia. It covers the designing a socket in the place of centre button, into which you could insert a stylus to create a makeshift joystick. Just think how entertaining it would have been, if they actually made a device like that.
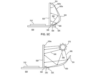
#7 Harnessing Light
Filed: September 19, 2008
Company: Apple
This patent comes from Apple, who is lately, the king of patent fights. The concept is simple. We know it’s rough to see the screen of laptop or mobile in direct sunlight. So even before Apple thought of introducing the retina display, it had filed a patent for harnessing the sunlight through the back side of the laptop and using the energy to produce extra brightness. That is, the brightness is reflected to the back of the screen for boosting the brightness to make screen more visible in sunlight.
