6 Surprising Patents Of Steve Jobs
#5 Entire Glass Building
It seems Steve Jobs has a passion for glass constructions. This patent for a complete glass Apple store, which comes as a part of the main store, had glass walls and glass roof, much more than the glass cube at Apple’s store in 5th avenue, New York.
Steve has also won a patent for its Shanghai store, which actually is characterized by a 40-foot-high glass cylinder which enwraps a ditch like staircase that leads to amazing 5000 square foot store.
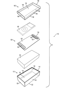
#4 Packaging
If you can’t believe Steve Jobs had a patent for each and every micro, just have a look at this. The Apple products traditionally come in a particular way of packaging and the unboxing has not changed over the years. Just open the box and you find the iPhone. Beneath the plastic layer are the accessories including cables and guides. The device itself acts as a lid to another layer.
The patent may seem funny, but considering Steve Jobs, a perfectionist with a passion for micromanaging, it is not a big amaze.
